Les parcours
Les parcours en musique
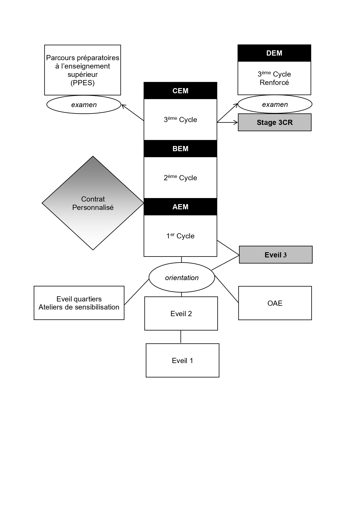
Les élèves peuvent suivre leur formation dans le cadre :
– du Parcours études composé de trois grands cycles d’études certifiants ou diplômants, comprenant pratiques collectives, culture et discipline dominante (voir les annexes par départements pédagogiques).
NB : A titre indicatif et pour la discipline dominante, la durée de cours peut varier de 20 à 30 minutes de cours hebdomadaires (1er cycle), de 30 à 45 minutes (2ème cycle) et de 45 à 60 minutes (3ème cycle certifiant et 3ème cycle diplômant/PPES).
– d’un Parcours programme personnalisé et contractualisé adapté à leur projet (pratiques d’ensemble avec ou sans soutien instrumental, demandes spécifiques).
La durée des cycles est variable (généralement entre trois et cinq ans) selon les disciplines et les parcours de chacun. Les modalités d’évaluation combinent de façon spécifique évaluation continue et performances selon les pratiques et les domaines esthétiques (voir les cursus spécifiques par départements). »

Le Certificat d’Études Musicales (CEM)
Le CEM comporte trois unités d’enseignement :
- discipline dominante
- pratiques collectives (ateliers et ensembles)
- culture et langage
Le Diplôme d’Études Musicales (DEM)
Le DEM comporte 4 modules :
- Module principal
- Module associé
- Module complémentaire
- Unité d’enseignement choisie dans une liste
Le détail de chaque module est à consulter dans les règlements des études de chaque département.
Tous les élèves doivent valider un Projet personnel (Notice projet personnel / Contrat-de-PP-3CR) et suivre un minimum de 12 conférences de culture artistique pendant leur cursus, incluant la « Prévention des risques auditifs » et « Les médias de la documentation », obligatoires pour tous.
Tous les élèves du Domaine classique à contemporain doivent valider un CEM de Formation musicale et un atelier d’invention (improvisation, composition, etc.)
Les Parcours Préparatoires à l’Enseignement Supérieur (PPES)
En sus du parcours de formation tel que décliné pour chacune des disciplines et présenté plus loin, de nombreux projets artistiques sont régulièrement mis en place en lien avec la saison de diffusion et avec les nombreux partenaires de l’ENM (CEFEDEM Auvergne-Rhône-Alpes, CFMI, CNSMDL, lieux de diffusions etc. – voir conventions en annexe).
L’offre d’enseignement individuel et collectif tient compte de la situation scolaire de l’élève afin de lui permettre le cas échéant d’achever des études secondaires dans les conditions les plus favorables à sa pratique.
Dans le cadre de son parcours, l’étudiant s’engage à présenter au moins un concours d’entrée à un établissement d’enseignement supérieur français ou européen. L’étudiant qui capitalise les Unités de Valeurs permettant l’obtention du Diplôme d’Etudes Musicales au cours de sa deuxième (ou éventuellement troisième année lorsque le PPES de sa discipline s’effectue sur trois ans) pourra retirer son diplôme auprès de la Scolarité de l’ENM, selon les modalités qui lui seront communiquées lors de la notification de certification.
Au terme de la formation, une attestation détaillant les enseignements reçus est délivrée à l’étudiant ayant satisfait à l’ensemble des attendus pédagogiques du PPES.
L’ENM se réserve à tout moment le droit d’interrompre un parcours de formation de façon temporaire ou définitive sur avis des équipes pédagogique et administrative en cas de manquements graves ou répétés aux consignes en vigueur dans l’établissement, ou d’implication insuffisante dans la formation (assiduité, participation aux projets, travaux attendus…).
RENTREE 2025 : informations et inscriptions
Le Parcours programme personnalisé
Si l’élève porte un projet qui se distingue du Parcours études par les contenus, les rythmes et les objectifs, il peut solliciter ou se voir proposer par son enseignant un Parcours programme adapté.
Notamment destinée aux élèves intéressés par les pratiques collectives, cette formation spécifiquement élaborée en fonction du profil de chacun peut toutefois comporter des passerelles avec le Parcours études, selon l’évolution des projets individuels et sur avis de l’équipe pédagogique.
En fonction des pratiques collectives envisagées, l’enseignant peut proposer un soutien instrumental facultatif pouvant aller jusqu’à 1 heure par mois (tarif pratiques collectives). Ce soutien peut aller jusqu’à 2 heures par mois (tarif courant) et ne peut en aucun cas excéder 2 heures par mois.
Les enjeux de chaque Parcours programme personnalisé sont définis dans le cadre d’un contrat établi entre l’enseignant et l’élève, mentionnant sa durée (un an, deux ans ou trois ans) et le détail des enseignements suivis. Ces informations permettent au Service scolarité d’appliquer ensuite le tarif adéquat.
Télécharger le formulaire du Parcours programme personnalisé.
Les parcours en danse et théâtre
Parcours en danse
L’équipe pédagogique privilégie la construction de l’autonomie artistique des élèves. Formation Musicale, obligation de pratiquer deux esthétiques à partir du 3e cycle, école du spectateur, culture chorégraphique, acquisition de notions d’anatomie et d’analyse du mouvement, recherche documentaire, viennent parfaire une pédagogie ouverte, dynamique et interactive au service de la construction du savoir de l’élève.
Pour les 8-11 ans : danses africaine et contemporaine se pratiquent en cursus commun à l’ENM, de l’initiation à la fin du 1er cycle. Danses orientale et hip-hop se pratiquent dans les centres sociaux des différents quartiers de Villeurbanne (ateliers de pratique artistique, voir l’enseignement hors les murs).
Pour les 10-20 ans : danses africaine et contemporaine se poursuivent en cursus commun à l’ENM en 2e cycle, puis séparément en 3e cycle. Les cours de danse orientale et hip-hop se poursuivent à l’ENM, en 2e et 3e cycles.
En 3e cycle, il est obligatoire de pratiquer deux esthétiques différentes.
Des ateliers spécifiques sont ouverts aux musiciens, chanteurs et instrumentistes, et aux comédiens déjà inscrits à l’ENM. Voir en détail le cursus et les ateliers Danse.
Parcours théâtre
La section théâtre encadrée par Caroline Boisson, responsable pédagogique et intervenante au Théâtre de l’Iris, présente un cursus d’étude complet en trois cycles. Soucieux de l’insertion dans la profession, il institue une résidence de comédiens/enseignants au sein même de l’école.
La section théâtre propose une formation ouverte à tous et sans limite d’âge (même en 3e cycle). Pour le débutant comme pour celui qui se perfectionne, elle répond, à travers la même pratique, à deux motivations distinctes : la découverte d’un plaisir enrichissant pour un épanouissement personnel (sensibilisation, 1er et 2e cycles qui se déroulent au Théâtre de l’Iris) l’acquisition de bases solides permettant d’évoluer vers le métier de comédien (3e cycle spécialisé qui se déroule à l’ENM).
Sensibilisation, 1er et 2e cycles, voir le site du Théâtre de l’Iris
3e cycle renforcé, voir le détail de la formation pré-professionnelle sur le site du Théâtre de l’Iris
Villeurbanne.fr
Viva en ligne